Motor autopropulsado mediante sistema hidráulico
Todo está conectado, y este motor es un buen ejemplo de ello. Une, entre otros, el Principio de Pascal, el sistema de funcionamiento de un motor con ciclo Otto y la transformación del movimiento que realiza el yugo escocés para obtener un motor que no necesita el empleo de ninguna fuente de energía contaminante.
Y además, es técnicamente viable.
El presente invento, el cual obtuvo el correspondiente Modelo de Utilidad (ES 1288807), lo he liberado, lo que significa que cualquier persona o empresa es libre de desarrollarlo como crea oportuno.
Algunos dibujos
Para complementar la descripción que se está realizando y con objeto de facilitar la comprensión de las características de la invención, se acompaña un juego de dibujos, en los que, con carácter ilustrativo, y no limitativo se ha representado lo siguiente:
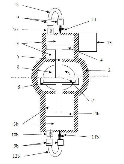
La figura 1 muestra una sección del motor.

La figura 2 muestra una sección del motor donde aparece destacada en color azul la pieza denominada guía (5).

La figura 3 muestra el modelo utilizado originalmente para industrializar el motor, conservando en todo caso el principio de funcionamiento.

Hay que señalar que el modelo industrializado ya ha sido mejorado.
Preguntas más habituales
¿Para qué serviría el motor?
Tal y como se detalla en el Modelo de Utilidad, el motor pretende ser el sustituto de los actuales motores de combustión. También podrá ser utilizado para generar energía primaria de forma continua.
¿Cómo es que el motor no necesita combustible?
El motor propuesto utiliza un sistema presurizado que no necesita combustibles.
¿El motor es viable?
Una empresa de ingeniería ha emitido un informe que avala la viabilidad del proyecto, aunque es cierto que no logran ver las posibilidades y se quedan a medio camino de lo que el motor puede dar de sí.
Además, acabo de simplificar el diseño y ya no es necesaria la Unidad de Control Electrónica (ECU), logrando el mismo objetivo por otros medios, lo que redundará en unos menores costes de fabricación.
¿Qué necesitaría?
Si su empresa está interesada, se puede acelerar el proceso para obtener un prototipo con el fin de llegar a fabricarlo de forma masiva. De todas formas, aunque de forma más lenta, continúo con el desarrollo del mismo.
¿Puedo verlo en funcionamiento?
Es pronto para ello. No obstante lo anterior, si desea obtener información útil y ver las posibilidades de desarrollo conjunto, puede ponerse en contacto conmigo en el correo electrónico que encontrará en el aviso legal.
¿No le importa que se apropien de la idea?
La idea de patentarlo y luego liberarlo fue precisamente asegurarme de que el invento no se quedara en un cajón. En todo caso, hay mercado no para una, sino para muchas empresas; la competencia es sana. El objetivo final de lograr detener el consumo de combustibles y tener una energía limpia y sin residuos contaminantes compensa con creces el «perder» la iniciativa. Hay muchos detalles que no están en el modelo y que suponen la diferencia entre no ver la utilidad y tenerla clara.
Veo en las estadísticas que ven la página web desde numerosos países y no suelen contactarme. Creo que hay dos posibilidades: o no ven cómo hacerlo útil o lo ven claro y quieren seguir adelante solos; en el primer caso, es como el huevo de Colón; en el segundo, lo veo normal en este mundo tan competitivo; es difícil para muchos mirar por el bien común.
¿Cobraría por aportar los elementos que faltan?
Como me dijo una amable telefonista de una Embajada al indagar por posibles empresas interesadas, «los inventores no suelen hacerse ricos con sus inventos», lo que en mi caso parece que es cierto. Evidentemente, el ánimo no es el lucro, pero no desdeño un incentivo económico que me permitiera poder dejar mi actual empleo y dedicarme totalmente al motor, que se me permitiera integrarme en el equipo de desarrollo, negociar un tanto por ciento sobre las ventas y que el invento no quede relegado en ningún caso al olvido.